Hej alle sammen.
Nu har fået 1900ml i min reaktor, og jeg render ind i det med nogle stille stående pellets, det er slet ikke særlig mange, men de må ja ikke stå stille.
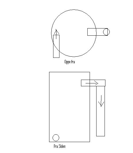
Så må jeg jo bare bygge min egen der er stor nok til at indeholde de pellets jeg skal bruge, også fik jeg en idé til at vand flowet skulle snore rundt i den som jeg har forsøgt at vise på tegningen.
Tror det vil virke, eller skal vandet presses lodret op igennem den??
Regler og Retningslinjer Læs her
DIY reaktor til pellets. Vil den virke
-
Akvarist.dk
- Grøn Chromis

- Reactions: 0
- Indlæg: 55
- Tilmeldt: tors 22. jan 2009 10:04
- 17
- Postnummer: 9400 Nørresundby
- Saltvand siden?: 2009
Re: DIY reaktor til pellets. Vil den virke
Hej Michael.
Jeg er ikke helt sikker på at det ville virke, tænker lidt på vis at man tager en flaske og hælder vand samt andet media der i og snurre den rundt så ville alt det andet media samle sig midt i flasken mens alt vandet vil samle sig uden om.
men det har måske noget med flow hastighed at gøre m.m
det var måske en ide at bruge 2 pumper en hovede pumpe der føder fra bunden af også en mini pumpe på midten der bryder det naturlige flow, det kan jo bare være den mindste du har.
har du tænkt over hvordan du vil stoppe dine pelletes i at rende ned i pumpen når du slukker den for så løber det resterende vand jo den vej ud, måske man kunne vende studsen ned af inden i reaktoren.
held og lykke med projektet.
Jeg er ikke helt sikker på at det ville virke, tænker lidt på vis at man tager en flaske og hælder vand samt andet media der i og snurre den rundt så ville alt det andet media samle sig midt i flasken mens alt vandet vil samle sig uden om.
men det har måske noget med flow hastighed at gøre m.m
det var måske en ide at bruge 2 pumper en hovede pumpe der føder fra bunden af også en mini pumpe på midten der bryder det naturlige flow, det kan jo bare være den mindste du har.
har du tænkt over hvordan du vil stoppe dine pelletes i at rende ned i pumpen når du slukker den for så løber det resterende vand jo den vej ud, måske man kunne vende studsen ned af inden i reaktoren.
held og lykke med projektet.
Venlig Hilsen Søren
- MiksBiks
- Rev Papegøje fisk

- Reactions: 0
- Indlæg: 946
- Tilmeldt: tors 7. feb 2008 18:46
- 18
- Postnummer: 8240 Risskov
- Saltvand siden?: 2001
- Geografisk sted: Århus
Re: DIY reaktor til pellets. Vil den virke
Akvarist.dk skrev:Hej Michael.
Jeg er ikke helt sikker på at det ville virke, tænker lidt på vis at man tager en flaske og hælder vand samt andet media der i og snurre den rundt så ville alt det andet media samle sig midt i flasken mens alt vandet vil samle sig uden om.
men det har måske noget med flow hastighed at gøre m.m
det var måske en ide at bruge 2 pumper en hovede pumpe der føder fra bunden af også en mini pumpe på midten der bryder det naturlige flow, det kan jo bare være den mindste du har.
har du tænkt over hvordan du vil stoppe dine pelletes i at rende ned i pumpen når du slukker den for så løber det resterende vand jo den vej ud, måske man kunne vende studsen ned af inden i reaktoren.
held og lykke med projektet.
Det kan du nok have ret i, at det bare snurre rundt
Havde ikke tænkt på hvordan med pellets nå jeg tager strømmen fra
Tænker lige lidt mere over det, nu her efter jeg har fået min morgen kaffe, også prøver jeg igen
Mvh Michael
- apfolmer
- Rev haj

- Reactions: 3
- Indlæg: 1699
- Tilmeldt: tors 28. feb 2008 10:47
- 17
- Postnummer: 7120 Vejle Øst
- Saltvand siden?: 2005
- Geografisk sted: vejle
Re: DIY reaktor til pellets. Vil den virke
... lige lidt ved siden af.. men , vil der ske den store skade, hvis der er 10-20 piller der står stille ? og i så fald hvilke ?
***** ApFolmer@hotmail.com *****
